• Disco Check Valve
Disco Check Valve

1.size:DN50-DN600;2’’-24’’
2.Medium:water
3.Standard:EN12334/BS5153/MSS SP-71/AWWA C508
4.Pressure:CLASS 125-300/PN10-25/200-300PSI
5.Material:CI,DI
6.Type:wafer,swing

Tel: +86-532-66952179/66952180

E-mail: qdiflow@qdiflow.com

Description

TECHNICAL REQUIREMENT
1. Working pressure: 4.0MPa
2. Working temperature: -100℃~400℃
3. Face to face: DIN3202 K4
4. Flange standard: EN1092-2
5. Testing: DIN3230, API598
6. Medium: Fresh water, sea water, food, all kinds of oil, acid, alkaline etc.

Specification

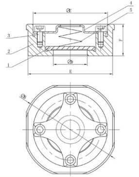
NO. PART MATERIAL

cv2.jpg

1 Disc SS316/SS304
2 Body SS316/SS304/Brass
3 Bolts SS316
4 Spring cover SS316
5 Spring SS316

 

Dimensions data(mm)

 

DN (mm) 15 20 25 32 40 50 65 80 100
ΦD (mm) 53 63 73 84 94 107 126 144 164
ΦE (mm) 15 20 25 30 38 47 62 77 95
L (mm) 16 19 22 28 31.5 40 46 50 60

 

Related Products

Inquiry

Submit