

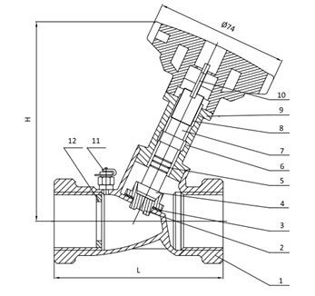
Material:Ductile iron,stainless steel,brass,bronze
Painting: Inside and outside blue epoxy powder coated
Working Pressure: 1.6Mpa (PN16)
Working Temperature: 0~120°C
Flange Standard: EN1092-2/BS4504/ANSI B16.1
Tel: +86-532-66952179/66952180
E-mail: qdiflow@qdiflow.com
Description
Specification
Dimensions data(mm)
*Kvs=m3/h at a pressure drop 1 bar and fully open valve
Related Products
Inquiry