• Sight Glass
Sight Glass

Material:cast iron body,plastic plate
Working pressure PN16
Type:waltman ,irrigation
Size:DN50-DN300

Tel: +86-532-66952179/66952180

E-mail: qdiflow@qdiflow.com

Description

TECHNICAL REQUIREMENT :
    ● Testing: API 598-2004
    ● Flange dimensions  Conform to EN1092-1/ANSI B16.5
    ● Working temperature:10℃-180℃
    ● Working pressure: 4Bar-20Bar

Specification

 Materials of parts  

Qingdao I-Flow Co., Ltd

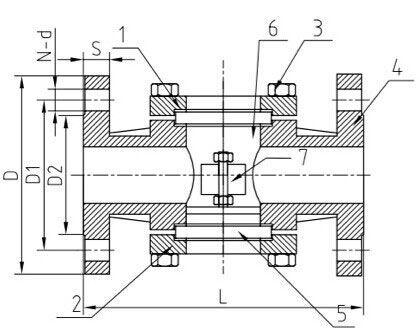
NO. Part Name Material
1 Sealing Gasket PTFE
2 Bonnet SS316/WCB
3 Bolt and nut B838
4 Body SS316/WCB
5 Glass Borosilicate
6 Spinner SS316
7 Pin SS304

 

Dimensions data(mm)

 

DN L D D1 D2 S N-D GLASS
1/2" 130 90 60.3 34.9 9.6 4-15.7 φ45X6
3/4" 150 100 69.9 42.9 11.2 4-15.7 φ45X6
1" 160 110 79.4 50.8 12.7 4-15.7 φ65X10
2" 230 150 120.7 92.1 17.5 4-19.1 φ95X15

 

Related Products

Inquiry

Submit