• 200PSI NRS Type Flanged End Gate Valve with Round Plate
200PSI NRS Type Flanged End Gate Valve with Round Plate

1.Standards: AWWA C515, DIN3352 F4/F5, BS5163, BS5150
2.Connection type: flange type,groove type
3.Material:CI,DI,STAINLESS STAIN
4.Size: 2" - 12"
5.Pressure grade: 200PSI-300PSI
6.Type:OS&Y,NRS,with plate
UL/FM approval

Tel: +86-532-66952179/66952180

E-mail: qdiflow@qdiflow.com

Description

TECHNICAL REQUIREMENT :
    ● Design and Manufacture Conform to AWWA C515 
    ● Flange to ANSI B16.1 Class 125.Other flange types available
    ● Fusion bonded epoxy coated inside and out    
    ● Testing Conform to  AWWA C515 

Specification

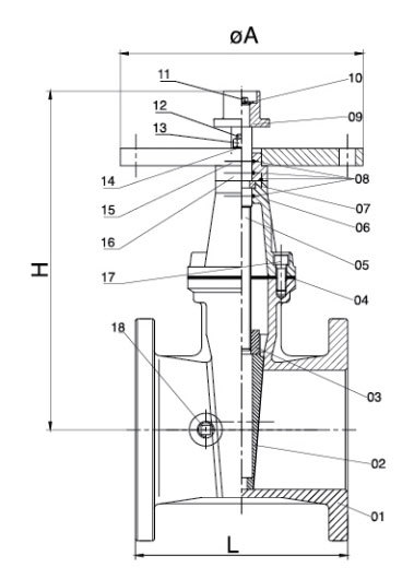
No. Part Name Material

Qingdao I-Flow Co., Ltd

1 Body ASTM A536 65-45-12
2 Wedge ASTM A536 65-45-12+EPDM
3 Wedge Nut ASTM B148 C95400
4 Gasket EPDM
5 Stem ANSI 420
6 Bonnet ASTM A536 65-45-12
7 Retainer Ring ASTM B62
8 O-Ring EPDM
9 Square Operating Nut ASTM A536 65-45-12
10 Flat Gasket ANSI 1045
11 Lock Nut ANSI 1035
12 Bolt ANSI 1035
13 Nut ANSI 1035
14 Washer ANSI 1035
15 Round Plate ASTM A536 65-45-12
16 Gland ASTM A536 65-45-12
17 Bonnet Bolt ANSI 1035
18 Plug Screw ASTM B62

 

Dimensions data(mm)

 

Size 2½" 3" 4" 5" 6" 8" 10" 12"
Dn 65 80 100 125 150 200 250 300
L 190 203 229 254 267 292 330 356
H 255 289 323 386 420 520 628 725
ΦA 305 305 305 305 305 305 305 305

 

Related Products

Inquiry

Submit