• Wall Type Indicator Post
Wall Type Indicator Post

Type:wall type, vertical type
Material:cast iron
UL/FM approval

Tel: +86-532-66952179/66952180

E-mail: qdiflow@qdiflow.com

Description

SPECIFICATIONS :
    ● Indicates if the valve underground is the OPEN or Shut Position
    ● Used to operate a valve installed behind a wall
    ● Operated by handwheel
    ● Fusion bonded epoxy coated inside and out
Field Adjustment:
    ● Remove the top section of the upper barrel of the indicator post
    ● Cut the stem to the required length and adjust the standpipe to match uo the the GROUND LINE
    ● Set the OPEN and Shut targets for the appropriate valve size
    ● Re-attach the top section of the upper barrel of the indicator post

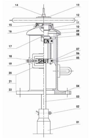
Specification

No. Part Name Material

Qingdao I-Flow Co., Ltd

1 Crane Coupling ASTM A126B
2 Cotter Pin ANSI 1035
3 Extension Stem ANSI 1045
4 Body ASTM A126B
5 Target ASTM S12A
6 Hex Nut ANSI 1035
7 Hex Nut ANSI 1035
8 Position Bracket ANSI 304
9 Operating Nut ANSI 304
10 Retainer Ring ASTM A29
11 Cover ASTM A126B
12 Handwheel ASTM A126B
13 Snap Ring ASTM A36
14 Lifting Ring ANSI 1035
15 Screw ANSI 1035
16 Nut ANSI 1035
17 Bolt ANSI 1035
18 Plug ANSI 1035
19 Window Gland ASTM A36
20 Target ASTM S12A
21 Window Glass Origanic Glass
22 Gasket EPDM

 

Related Products

Inquiry

Submit